All About Vacuum Desiccators
Vacuum Desiccators Overview
A vacuum desiccator is a specialized laboratory container designed to maintain an ultra-low humidity environment. The term “desiccator” comes from the Latin word exsiccare, meaning “to dry out.” Typically crafted from heavy-duty glass—or sometimes plastic—this vessel features a tightly sealed lid, usually ground to match the rim and sealed with vacuum grease or petroleum jelly to ensure an airtight closure. Conventional desiccators and vacuum desiccators are essential for drying substances at ambient temperatures, storing moisture-sensitive materials, and conducting gravimetric analyses where moisture interference must be avoided. Some models are engineered to allow air evacuation to create a vacuum, improving drying efficiency.

Vacuum Desiccators Structure and Use
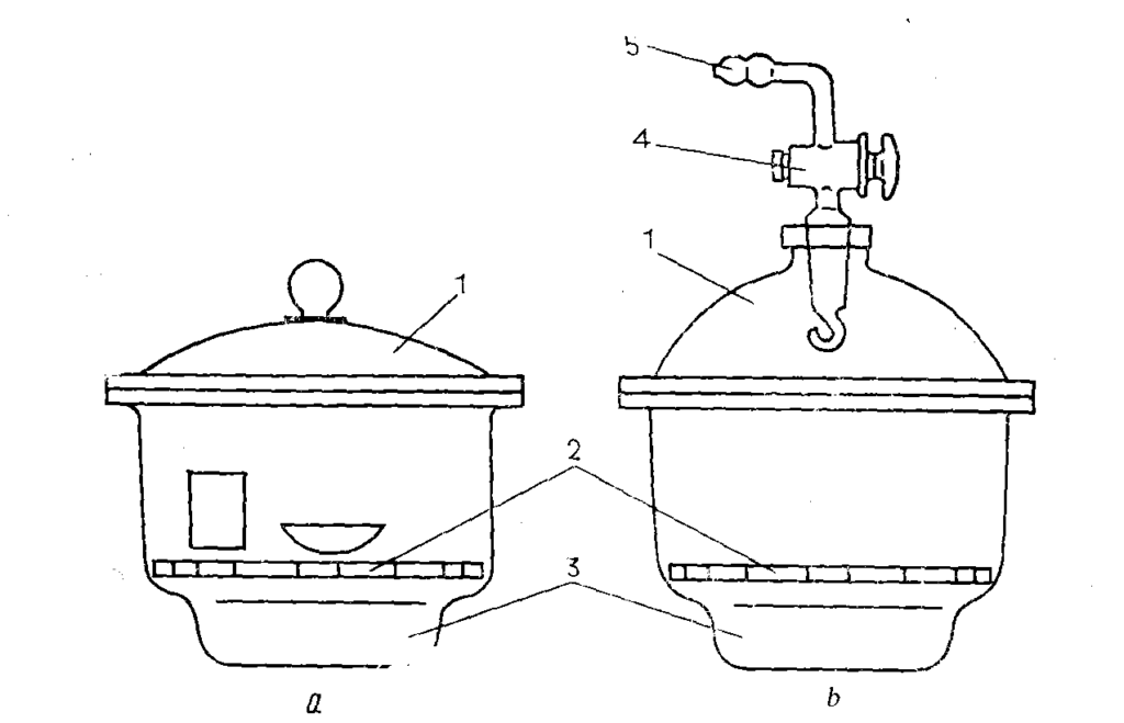
Inside a vacuum desiccator, a perforated porcelain or ceramic platform holds containers or samples, while a drying agent is placed in the bottom section to absorb moisture. Certain desiccators are equipped with a stopcock or vacuum valve that connects to a vacuum source or allows the introduction of inert gases.

When opening the vacuum desiccator, it’s important to slide the lid gently rather than lifting it straight up to avoid damaging the vessel. Always support the lid when transporting the unit. If placing hot items inside, leave the lid slightly open during cooling to prevent a vacuum from forming and making the lid difficult to remove.
Some vacuum desiccators include a valve or nozzle to evacuate air, and extra caution is required during this process. The use of protective coverings such as wire cages or blast shields is advised during initial vacuum application, as manufacturing flaws or internal stresses can cause implosions. Certain high-quality models can tolerate vacuums as low as 0.0001 torr (0.0133 Pa).
Vacuum Desiccators Role in Pharmaceutical Production
In pharmaceutical laboratories, vacuum desiccators are widely used during synthesis processes, particularly when the final product is a solid. These devices help achieve complete dryness of the sample, significantly extending its shelf life and maintaining quality. They also accelerate drying while preventing contact with atmospheric oxygen, which can degrade sensitive compounds.
Vacuum Desiccators Types and Configurations
Vacuum desiccators come in different designs, including:
- Standard desiccators for ambient pressure drying
- Vacuum-compatible desiccators with reinforced construction and vacuum ports
Key components include:
- Airtight lid
- Sample shelf or support tray
- Drying agent chamber
- Vacuum valve
- Tap for connecting a vacuum pump
A water-jet pump or mechanical vacuum system is often connected via a safety trap (e.g., a Wolfe’s bottle), which prevents backflow of water into the desiccator if the vacuum source fails.

Common Desiccants
Desiccants are critical to the operation of vacuum desiccators. They absorb water vapor and help maintain a dry environment. Popular choices include:
- Silica Gel: Effective and reusable. Often color-indicating for saturation level (blue to pink).
- Anhydrous Calcium Chloride: Highly absorbent but unsuitable for acids or polar substances due to reactivity and lime impurities.
- Anhydrous Sodium Sulfate: Neutral and cost-effective but slow-acting; not suitable for some organics.
- Calcium Sulfate (Drierite): Good for final drying of many organics; forms a crust when saturated.
- Copper(II) Sulfate: Limited use due to reactivity; color change upon saturation.
- Caustic Soda/Potash: Fast and strong but highly reactive; suitable only for select compounds like amines or ethers.
- Potassium Carbonate: Basic desiccant for drying specific organic groups.
- Phosphorus Pentoxide (P₂O₅): Powerful acidic drying agent; limited to stable compounds.
- Sulfuric Acid: Excellent for gas drying; not suitable under vacuum or high temperature.
- Molecular Sieves: Zeolite-based; reusable and high capacity, often with moisture indicators.

Maintenance and Safety Tips
Before use, inspect the desiccator for cracks or imperfections, which could lead to failure under vacuum. Follow these steps for safe operation:
- Check the vessel for defects.
- Slide open the lid and apply vacuum grease to the seal.
- Place the drying agent in the base compartment.
- Insert the sample shelf.
- Load your samples onto the tray.
- Close the lid using a sliding motion.
- Close the vacuum valve before connecting the pump.
- Activate the pump and connect the vacuum line to the tap.
- Slowly open the valve to draw air out.
- After drying, close the valve first, then turn off the pump.
- Disconnect the hose and either leave under vacuum or release pressure slowly.
Caution: Never turn off the pump while the vacuum valve is still open, especially when using a water-jet pump, as this could allow water to backflow. Also, releasing vacuum pressure too quickly can shatter glassware or damage contents.
Sources
- Fisher Scientific. (n.d.). Desiccators and accessories. Retrieved June 27, 2025, from https://www.fishersci.com/us/en/browse/90181159/desiccators
- National Institutes of Health (NIH). (2019). Laboratory safety manual. Division of Occupational Health and Safety. Retrieved June 27, 2025, from https://ors.od.nih.gov/sr/dohs/Documents/Laboratory_Safety_Manual.pdf
- Royal Society of Chemistry. (2021). Desiccants. Education in Chemistry. Retrieved June 27, 2025, from https://edu.rsc.org/resources/desiccants/4010928.article
- ScienceLab.com. (n.d.). Material safety data sheet: Desiccators. Retrieved June 27, 2025, from https://www.sciencelab.com/msds.php?msdsId=9923756
- Sigma-Aldrich. (n.d.). Vacuum desiccators. MilliporeSigma. Retrieved June 27, 2025, from https://www.sigmaaldrich.com/US/en/product/sial/z122064
- Thermo Fisher Scientific. (n.d.). Laboratory equipment catalog: Vacuum desiccator components. Retrieved June 27, 2025, from https://www.thermofisher.com/order/catalog/product/53109001
- University of Calgary. (n.d.). Laboratory glassware guide. Environmental Health and Safety. Retrieved June 27, 2025, from https://ucalgary.ca/labsafety/manual/glassware
